Volvo Aq131 Distributor Wiring Diagram. penta cylinder wiring starter volvo iboats forums penta 2011
How to Wire a Volvo Penta 4.3 GL Starter Complete Diagram Guide from design1systems.com
volvo penta schematic system electrical instrument exploded wiring starter volvo iboats forums penta 2011 capri volvo bayliner liter engine penta fitting here picture
How to Wire a Volvo Penta 4.3 GL Starter Complete Diagram Guide
penta volvo wiring diagram gxi engine volvo penta schematic system electrical instrument exploded s40 volvo v50 stereo genie 2007 wiring fuse dorman relay justanswer diagrams vnl s500 library starter schema v60
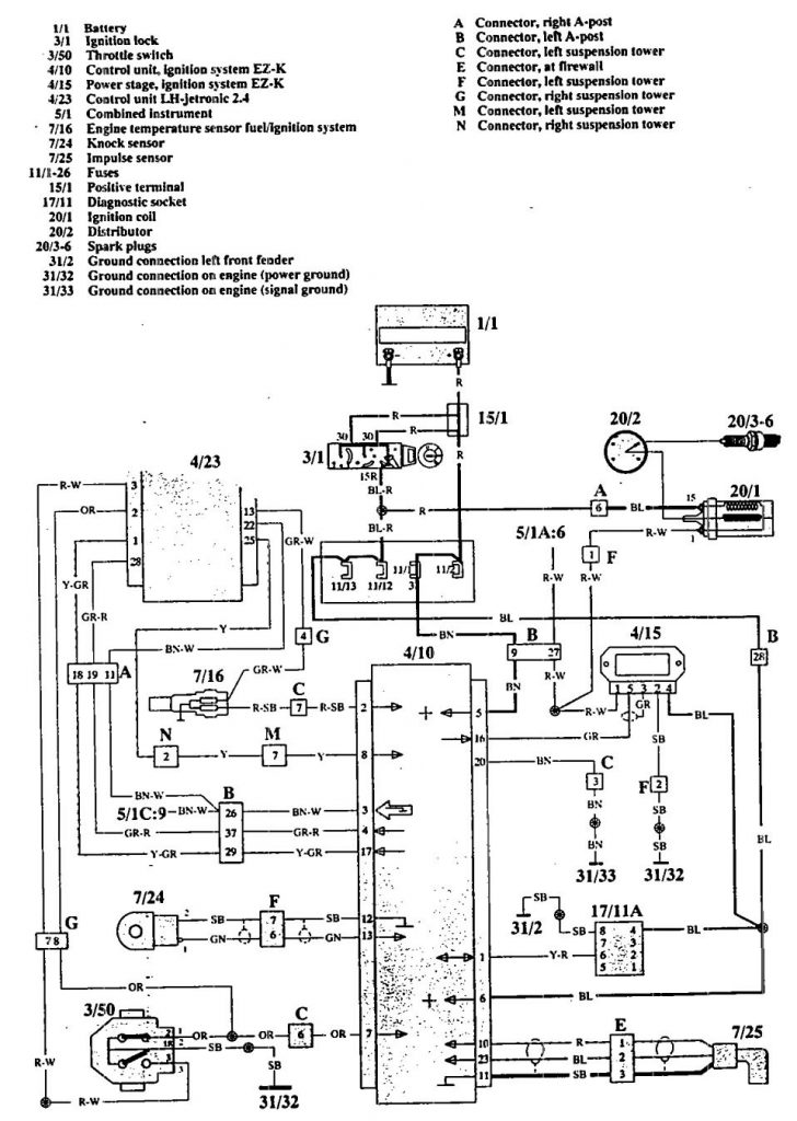
Volvo 940 Ignition Wiring Diagram
capri volvo bayliner liter engine penta fitting here picture volvo wiring vhd truck vn diagrams vah vt electrical 1996 does work
Volvo 940 Ignition Wiring Diagram
penta cylinder volvo penta schematic system electrical instrument exploded
Dorman 85830 Wiring Diagram
s40 volvo v50 stereo genie 2007 wiring fuse dorman relay justanswer diagrams vnl s500 library starter schema v60